微信
移动版
智能问答
繁
|
简
进入适老模式
无障碍阅读
首页
新闻资讯
政务公开
政务服务
政民互动
走进新乡县
首页
政务公开
政府信息公开
法定主动公开内容
许可/对外管理服务
许可结果
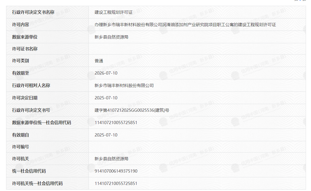
新乡市瑞丰新材料股份有限公司润滑油添加剂产业研究院项目职工公寓的建设工程规划许可证
来源:
县自然资源局
时间:
2025-10-15
浏览量:
上一篇:
新乡市爱从来商业综合体项目建设用地规划许可证
下一篇:
新乡工程学院项目S9-10#综合实训楼的建设工程规划许可证
分享:
友情链接
国务院部门网站
省内各市政府网站
区县政府网站
国家统计局
国防部
外交部
民政部
国家发展和改革委员会
教育部
科学技术部
工业和信息化部
国家民族事务委员会
公安部
国家安全部
司法部
财政部
人力资源和社会保障部
自然资源部
生态环境部
住房和城乡建设部
交通运输部
水利部
农业农村部
商务部
文化和旅游部
国家卫生健康委员会
退役军人事务部
应急管理部
人民银行
审计署
国家语言文字工作委员
国家外国专家局
国家航天局
国家原子能机构
国家海洋局
国家核安全局
国务院国有资产监督管
海关总署
国家税务总局
国家市场监督管理总局
国家广播电视总局
国家体育总局
国家国际发展合作署
国家医疗保障局
国务院参事室
国家机关事务管理局
国家认证认可监督管理
国家标准化管理委员会
国家新闻出版署
国家宗教事务局
国务院港澳事务办公室
国务院研究室
国务院侨务办公室
国务院台湾事务办公室
国家互联网信息办公室
国务院新闻办公室
新华通讯社
中国科学院
中国社会科学院
中国工程院
国务院发展研究中心
中央广播电视总台
中国气象局
中国银行保险监督管理
中国证券监督管理委员
国家行政学院
国家信访局
国家粮食和物资储备局
国家能源局
国家国防科技工业局
国家烟草专卖局
国家移民管理局
国家林业和草原局
国家铁路局
中国民用航空局
国家邮政局
国家文物局
国家中医药管理局
国家矿山安全监察局
国家外汇管理局
国家药品监督管理局
国家知识产权局
出入境管理局
国家公园管理局
国家公务员局
国家档案局
国家保密局
国家密码管理局
新乡
郑州
驻马店
三门峡
平顶山
济源
信阳
南阳
周口
漯河
许昌
商丘
鹤壁
焦作
濮阳
安阳
开封
洛阳
卫辉市
延津县
新乡县
辉县市
原阳县
获嘉县
封丘县
长垣市
红旗区
牧野区
卫滨区
凤泉区